产品概述
立式单级消防泵组参照中华人民共和国消防泵标准GB6245-2006《消防泵性能要求和试验方法》之规定,结合本公司多年的生产实践经验,参考现代优秀的水利模型设计而成,专门用于消防系统的离心泵,产品性能达到国内同类产品的先进水平。产品经中国消防装备质量监督测试中心型式试验,各项性能指标全部达到标准要求,获得消防产品认可证书。
主要用途
立式单级消防泵组主要用于消防系统管道增压送水。也可适用于工业和城市给排水,高层建筑增压送水、远距离送水、采暖、浴室、锅炉冷暖水循环增压、空调制冷系统送水及设备配套等场合。
型号意义

性能范围
流量:5-120l/s
扬程:30-160m
功率:3-200kw
转速:2900r/min
工作条件
1、可输送清水或物理化学性质类似于清水的无腐蚀性介质,其固体不溶物不超过0.1%。
2、介质温度:-15℃~80℃。
3、环境温度不大于40℃,相对湿度小于95%
结构说明
1、电机与泵同轴,运行平稳,噪音低,振动小。
2、采用硬质合金机械密封,运行寿命长,无泄漏,保证环境整洁。
3、进出口径相同,中心高度一致,安装方便。
4、泵体底部设有底座和螺栓孔,任意硬性联接或者柔性联接
5、设置放气阀,完全排净泵内空气,确保泵的正常启动。
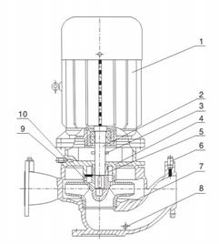
结构图及材料表
|
序号
|
名称
|
材料
|
|
1
|
电机
|
YE2系列
|
|
2
|
轴
|
2Cr13
|
|
3
|
挡水圈
|
橡胶
|
|
4
|
泵盖
|
QT400-18
|
|
5
|
机械密封
|
硬质合金
|
|
6
|
取压口螺塞
|
A3
|
|
7
|
泵体
|
QT400-18
|
|
8
|
放水螺塞
|
A3
|
|
9
|
放气阀
|
青铜
|
|
10
|
叶轮
|
QT400-18
|
安装说明
1、安装时管路重量不应承受在泵上,否则容易损坏水泵;
2、安装时必须拧紧地脚螺栓,且每间隔一定时间段应对泵进行检查防止其松动,以免水泵启动是发生剧烈振动而影响泵的性能;
3、安装水泵前应仔细泵流道内有无影响水泵运行的硬质物(如石块、铁砂等)以免水泵运行时损坏过流部件;
4、为了维护方便和使用安全,在泵的进出口管路上安装一只调节阀及在泵进出口附近安装一只压力表,对于高扬程泵,为防止水锤,还应在出口闸阀前安装一只止回阀以应付突然断电等失去动力事故,从而确保水泵在最佳工况下运行,增加水泵的使用寿命;
5、泵用于有吸程场合,应装有底阀,并且进口管路不应有过多弯道,同时不得漏水、泄气现象,以免影响水泵的吸入性能;
6、安装管路前转动水泵的转子部件,应无摩擦声或卡死现象,否则应将泵拆开检查原因。
起动与停车
一、起动前的准备
1、用手拨转电机,叶轮应无卡磨现象,转动灵活;
2、打开进口阀门,打开排气阀是液体充满整个泵腔,然后关闭排气阀。
3、应先用手盘动几圈以使润滑水进入机械密封端面;
4、点动电机,确定转向是否正确。
二、起动与运行
1、全开进口阀门,关闭突出管道阀门;
2、接通电源,当泵达到正常转速后,再逐渐打开吐出管路上的阀门,并调节到所需工况;注意观察仪表读数,检查轴封泄漏情况,正常时机械密封泄露为3滴/分,检查电机、轴承处温升,如果发现异常情况,应及时处理。
三、停 车
1、逐渐关闭吐出管路阀门,切断电源;
2、关闭进口阀门;
3、如环境温度低于0℃,应将泵内液体放尽,以免冻裂水泵;
4、如长期停用,应将泵拆卸清洗,包装保管。
泵的维护与保养
1、进水管路必须高度密封,不能漏水、漏气;
2、禁止泵在汽浊状态下长期运行;
3、禁止泵在大流量工况运行时,电机超电流长期运行;
4、定时检查泵运行中的电机电流值,尽量使泵在设计工况范围内运行;
5、泵在运行中应有专人看管,以免发生意外;
6、泵进行长期运行后,由于机械磨损,使机组噪声及振动增大时应停车检查,必要时可更换易损零件及轴承,机组检修期一般为一年。
故障及排除方法
|
故障现象
|
可能产生的原因
|
排除方法
|
|
1、水泵不出水
|
a.进出口阀门未打开,进出管路阻塞,流道叶轮阻塞。
b. 电机运行方向不对,电机缺相转速很慢。
C.吸入管漏气。
d.泵没灌满液体,泵腔内有空气。
e.进口供水不足,吸程过高,底阀漏水。
f. 管路阻力过大,泵选型不当。
|
a.检查,去除阻塞物。
b.调整电机方向,紧固电机接线。
C.拧紧各密封面,排除空气。
d.打开泵上盖或打开排气阀,排尽空气。
e.停机检查、调整(并网自来水管和带吸程使用易出现 此现象)。
f. 减少管路弯道,重新选泵。
|
|
2、水泵流量不足
|
a.先按1源因检查。
b.管道、泵流道叶轮部分阻塞,水垢沉积、阀门开度不足。
C.电压偏低。
d.叶轮磨损。
|
a.先按1排除。
b.去除阻塞物,重新调整阀门开度。
C.稳压。
d.更换叶轮。
|
|
3、功率过大
|
a.超过额定流量使用。
b.吸程过高。
C.泵轴承磨损。
|
a.调节流量关小出口阀门。
b.降低
C.更换轴承。
|
|
4、杂音振动
|
a.管路支撑不稳。
b.液体混有气体。
C.产生汽蚀。
d.轴承损坏。
e. 电机超载发热运行。
|
a. 稳固管路。
b. 提高吸入压力、排气。
C.降低真空度。
d.更换轴承。
e.调整按5。
|
|
5、电机发热
|
a.流量过大,超载运行。
b.碰擦。
C.电机轴承损坏。
d.电压不足。
|
a.关小出口阀。
b.检査排除。
c.更换轴承。
d. 稳压。
|
|
6、水泵漏水
|
a.机械密封磨损。
b.泵体有砂孔或破裂。
C.密封面不平整。 d.安装螺栓松懈。
|
a.更换。
b.焊补或更换。
C.修養。
d.紧固。
|
性能参数表
|
序号
|
型号规格
|
额定流量
(L/s)
|
额定压力
(Mpa)
|
额定功率
(kw)
|
额定转速
(r/min)
|
最大工作压力(≤Mpa)
|
150%额定流量的压力(≥Mpa)
|
|
|
|
|
1
|
XBD3.2/5G-L
|
5
|
0.32
|
4
|
2900
|
0.448
|
0.208
|
|
|
2
|
XBD4.4/5G-L
|
5
|
0.44
|
7.5
|
2900
|
0.616
|
0.286
|
|
|
3
|
XBD5.0/5G-L
|
5
|
0.50
|
7.5
|
2900
|
0.700
|
0.325
|
|
|
4
|
XBD6.0/5G-L
|
5
|
0.60
|
11
|
2900
|
0.840
|
0.390
|
|
|
5
|
XBD7.0/5G-L
|
5
|
0.70
|
11
|
2900
|
0.980
|
0.455
|
|
|
6
|
XBD8.0/5G-L
|
5
|
0.80
|
15
|
2900
|
1.120
|
0.520
|
|
|
7
|
XBD9.0/5G-L
|
5
|
0.90
|
18.5
|
2900
|
1.260
|
0.585
|
|
|
8
|
XBD10.0/5G-L
|
5
|
1.00
|
22
|
2900
|
1.400
|
0.650
|
|
|
9
|
XBD11.0/5G-L
|
5
|
1.10
|
30
|
2900
|
1.540
|
0.715
|
|
|
10
|
XBD12.5/5G-L
|
5
|
1.25
|
30
|
2900
|
1.750
|
0.813
|
|
|
11
|
XBD3.2/10G-L
|
10
|
0.32
|
4
|
2900
|
0.448
|
0.208
|
|
|
12
|
XBD4.4/10G-L
|
10
|
0.44
|
7.5
|
2900
|
0.616
|
0.286
|
|
|
13
|
XBD5.0/10G-L
|
10
|
0.50
|
7.5
|
2900
|
0.700
|
0.325
|
|
|
14
|
XBD6.0/10G-L
|
10
|
0.60
|
15
|
2900
|
0.840
|
0.390
|
|
|
15
|
XBD7.0/10G-L
|
10
|
0.70
|
18.5
|
2900
|
0.980
|
0.455
|
|
|
16
|
XBD8.0/10G-L
|
10
|
0.80
|
22
|
2900
|
1.120
|
0.520
|
|
|
17
|
XBD9.0/10G-L
|
10
|
0.90
|
22
|
2900
|
1.260
|
0.585
|
|
|
18
|
XBD10.5/10G-L
|
10
|
1.05
|
30
|
2900
|
1.470
|
0.683
|
|
|
19
|
XBD11.5/10G-L
|
10
|
1.15
|
30
|
2900
|
1.610
|
0.748
|
|
|
20
|
XBD12.5/10G-L
|
10
|
1.25
|
37
|
2900
|
1.750
|
0.813
|
|
|
21
|
XBD3.2/15G-L
|
15
|
0.32
|
7.5
|
2900
|
0.448
|
0.208
|
|
|
22
|
XBD3.8/15G-L
|
15
|
0.38
|
7.5
|
2900
|
0.532
|
0.247
|
|
|
23
|
XBD4.4/15G-L
|
15
|
0.44
|
11
|
2900
|
0.616
|
0.286
|
|
|
24
|
XBD5.3/15G-L
|
15
|
0.53
|
15
|
2900
|
0.742
|
0.345
|
|
|
25
|
XBD6.0/15G-L
|
15
|
0.60
|
15
|
2900
|
0.840
|
0.390
|
|
|
26
|
XBD7.0/15G-L
|
15
|
0.70
|
18.5
|
2900
|
0.980
|
0.455
|
|
|
27
|
XBD8.0/15G-L
|
15
|
0.80
|
22
|
2900
|
1.120
|
0.520
|
|
|
28
|
XBD9.0/15G-L
|
15
|
0.90
|
22
|
2900
|
1.260
|
0.585
|
|
|
29
|
XBD10.0/15G-L
|
15
|
1.00
|
30
|
2900
|
1.400
|
0.650
|
|
|
30
|
XBD11.0/15G-L
|
15
|
1.10
|
30
|
2900
|
1.540
|
0.715
|
|
|
31
|
XBD12.5/15G-L
|
15
|
1.25
|
37
|
2900
|
1.750
|
0.813
|
|
|
32
|
XBD13.5/15G-L
|
15
|
1.35
|
37
|
2900
|
1.890
|
0.878
|
|
|
33
|
XBD14.2/15G-L
|
15
|
1.42
|
45
|
2900
|
1.988
|
0.923
|
|
|
34
|
XBD15.0/15G-L
|
15
|
1.50
|
55
|
2900
|
2.100
|
0.975
|
|
|
35
|
XBD3.3/20G-L
|
20
|
0.33
|
15
|
2900
|
0.462
|
0.215
|
|
|
36
|
XBD3.8/20G-L
|
20
|
0.38
|
15
|
2900
|
0.532
|
0.247
|
|
|
37
|
XBD4.5/20G-L
|
20
|
0.45
|
18.5
|
2900
|
0.630
|
0.293
|
|
|
38
|
XBD5.5/20G-L
|
20
|
0.55
|
22
|
2900
|
0.770
|
0.358
|
|
|
39
|
XBD6.2/20G-L
|
20
|
0.62
|
22
|
2900
|
0.868
|
0.403
|
|
|
40
|
XBD7.2/20G-L
|
20
|
0.72
|
30
|
2900
|
1.008
|
0.468
|
|
|
41
|
XBD8.5/20G-L
|
20
|
0.85
|
37
|
2900
|
1.190
|
0.553
|
|
|
42
|
XBD9.5/20G-L
|
20
|
0.95
|
37
|
2900
|
1.330
|
0.618
|
|
|
43
|
XBD10.5/20G-L
|
20
|
1.05
|
45
|
2900
|
1.470
|
0.683
|
|
|
44
|
XBD11.5/20G-L
|
20
|
1.15
|
55
|
2900
|
1.610
|
0.748
|
|
|
45
|
XBD12.5/20G-L
|
20
|
1.25
|
75
|
2900
|
1.750
|
0.813
|
|
|
46
|
XBD13.5/20G-L
|
20
|
1.35
|
75
|
2900
|
1.890
|
0.878
|
|
|
47
|
XBD14.0/20G-L
|
20
|
1.40
|
75
|
2900
|
1.960
|
0.910
|
|
|
48
|
XBD15.5/20G-L
|
20
|
1.55
|
90
|
2900
|
2.170
|
1.008
|
|
|
49
|
XBD3.2/25G-L
|
25
|
0.32
|
15
|
2900
|
0.448
|
0.208
|
|
|
50
|
XBD3.8/25G-L
|
25
|
0.38
|
15
|
2900
|
0.532
|
0.247
|
|
|
51
|
XBD4.5/25G-L
|
25
|
0.45
|
18.5
|
2900
|
0.630
|
0.293
|
|
|
52
|
XBD5.2/25G-L
|
25
|
0.52
|
22
|
2900
|
0.728
|
0.338
|
|
|
53
|
XBD6.0/25G-L
|
25
|
0.60
|
22
|
2900
|
0.840
|
0.390
|
|
|
54
|
XBD7.2/25G-L
|
25
|
0.72
|
30
|
2900
|
1.008
|
0.468
|
|
|
55
|
XBD8.3/25G-L
|
25
|
0.83
|
37
|
2900
|
1.162
|
0.540
|
|
|
56
|
XBD9.0/25G-L
|
25
|
0.90
|
37
|
2900
|
1.260
|
0.585
|
|
|
57
|
XBD10.5/25G-L
|
25
|
1.05
|
45
|
2900
|
1.470
|
0.683
|
|
|
58
|
XBD11.5/25G-L
|
25
|
1.15
|
55
|
2900
|
1.610
|
0.748
|
|
|
59
|
XBD12.5/25G-L
|
25
|
1.25
|
75
|
2900
|
1.750
|
0.813
|
|
|
60
|
XBD13.5/25G-L
|
25
|
1.35
|
75
|
2900
|
1.890
|
0.878
|
|
|
61
|
XBD14.0/25G-L
|
25
|
1.40
|
75
|
2900
|
1.960
|
0.910
|
|
|
62
|
XBD15.2/25G-L
|
25
|
1.52
|
90
|
2900
|
2.128
|
0.988
|
|
|
63
|
XBD3.1/30G-L
|
30
|
0.31
|
15
|
2900
|
0.434
|
0.202
|
|
|
64
|
XBD3.2/30G-L
|
30
|
0.32
|
18.5
|
2900
|
0.448
|
0.208
|
|
|
65
|
XBD3.8/30G-L
|
30
|
0.38
|
15
|
2900
|
0.532
|
0.247
|
|
|
66
|
XBD4.5/30G-L
|
30
|
0.45
|
18.5
|
2900
|
0.630
|
0.293
|
|
|
67
|
XBD4.9/30G-L
|
30
|
0.49
|
22
|
2900
|
0.686
|
0.319
|
|
|
68
|
XBD5.0/30G-L
|
30
|
0.50
|
30
|
2900
|
0.700
|
0.325
|
|
|
69
|
XBD6.0/30G-L
|
30
|
0.60
|
30
|
2900
|
0.840
|
0.390
|
|
|
70
|
XBD7.0/30G-L
|
30
|
0.70
|
30
|
2900
|
0.980
|
0.455
|
|
|
71
|
XBD8.0/30G-L
|
30
|
0.80
|
37
|
2900
|
1.120
|
0.520
|
|
|
72
|
XBD9.0/30G-L
|
30
|
0.90
|
45
|
2900
|
1.260
|
0.585
|
|
|
73
|
XBD10.0/30G-L
|
30
|
1.00
|
45
|
2900
|
1.400
|
0.650
|
|
|
74
|
XBD11.5/30G-L
|
30
|
1.15
|
55
|
2900
|
1.610
|
0.748
|
|
|
75
|
XBD12.5/30G-L
|
30
|
1.25
|
75
|
2900
|
1.750
|
0.813
|
|
|
76
|
XBD13.5/30G-L
|
30
|
1.35
|
75
|
2900
|
1.890
|
0.878
|
|
|
77
|
XBD14.2/30G-L
|
30
|
1.42
|
75
|
2900
|
1.988
|
0.923
|
|
|
78
|
XBD15/30G-L
|
30
|
1.50
|
90
|
2900
|
2.100
|
0.975
|
|
|
79
|
XBD3.2/35G-L
|
35
|
0.32
|
22
|
2900
|
0.448
|
0.208
|
|
|
80
|
XBD3.8/35G-L
|
35
|
0.38
|
22
|
2900
|
0.532
|
0.247
|
|
|
81
|
XBD4.4/35G-L
|
35
|
0.44
|
30
|
2900
|
0.616
|
0.286
|
|
|
82
|
XBD5.0/35G-L
|
35
|
0.50
|
37
|
2900
|
0.700
|
0.325
|
|
|
83
|
XBD6.0/35G-L
|
35
|
0.60
|
37
|
2900
|
0.840
|
0.390
|
|
|
84
|
XBD7.3/35G-L
|
35
|
0.73
|
45
|
2900
|
1.022
|
0.475
|
|
|
85
|
XBD8.2/35G-L
|
35
|
0.82
|
55
|
2900
|
1.148
|
0.533
|
|
|
86
|
XBD9.0/35G-L
|
35
|
0.90
|
55
|
2900
|
1.260
|
0.585
|
|
|
87
|
XBD10.0/35G-L
|
35
|
1.00
|
75
|
2900
|
1.400
|
0.650
|
|
|
88
|
XBD11.5/35G-L
|
35
|
1.15
|
75
|
2900
|
1.610
|
0.748
|
|
|
89
|
XBD12.5/35G-L
|
35
|
1.25
|
75
|
2900
|
1.750
|
0.813
|
|
|
90
|
XBD13.5/35G-L
|
35
|
1.30
|
75
|
2900
|
1.820
|
0.845
|
|
|
91
|
XBD14.2/35G-L
|
35
|
1.42
|
90
|
2900
|
1.988
|
0.923
|
|
|
92
|
XBD15.0/35G-L
|
35
|
1.50
|
110
|
2900
|
2.100
|
0.975
|
|
|
93
|
XBD3.2/40G-L
|
40
|
0.32
|
22
|
2900
|
0.448
|
0.208
|
|
|
94
|
XBD3.8/40G-L
|
40
|
0.38
|
22
|
2900
|
0.532
|
0.247
|
|
|
95
|
XBD4.4/40G-L
|
40
|
0.44
|
30
|
2900
|
0.616
|
0.286
|
|
|
96
|
XBD5.0/40G-L
|
40
|
0.50
|
37
|
2900
|
0.700
|
0.325
|
|
|
97
|
XBD6.0/40G-L
|
40
|
0.60
|
37
|
2900
|
0.840
|
0.390
|
|
|
98
|
XBD7.0/40G-L
|
40
|
0.70
|
45
|
2900
|
0.980
|
0.455
|
|
|
99
|
XBD8.0/40G-L
|
40
|
0.80
|
55
|
2900
|
1.120
|
0.520
|
|
|
100
|
XBD9.0/40G-L
|
40
|
0.90
|
55
|
2900
|
1.260
|
0.585
|
|
|
101
|
XBD10.0/40G-L
|
40
|
1.00
|
75
|
2900
|
1.400
|
0.650
|
|
|
102
|
XBD11.5/40G-L
|
40
|
1.15
|
75
|
2900
|
1.610
|
0.748
|
|
|
103
|
XBD12.5/40G-L
|
40
|
1.25
|
75
|
2900
|
1.750
|
0.813
|
|
|
104
|
XBD13.5/40G-L
|
40
|
1.35
|
75
|
2900
|
1.890
|
0.878
|
|
|
105
|
XBD14/40G-L
|
40
|
1.40
|
90
|
2900
|
1.960
|
0.910
|
|
|
106
|
XBD15/40G-L
|
40
|
1.50
|
110
|
2900
|
2.100
|
0.975
|
|
|
107
|
XBD3.2/45G-L
|
45
|
0.32
|
22
|
2900
|
0.448
|
0.208
|
|
|
108
|
XBD3.6/45G-L
|
45
|
0.36
|
22
|
2900
|
0.504
|
0.234
|
|
|
109
|
XBD4.4/45G-L
|
45
|
0.44
|
30
|
2900
|
0.616
|
0.286
|
|
|
110
|
XBD5.0/45G-L
|
45
|
0.50
|
37
|
2900
|
0.700
|
0.325
|
|
|
111
|
XBD6.3/45G-L
|
45
|
0.63
|
45
|
2900
|
0.882
|
0.410
|
|
|
112
|
XBD7.0/45G-L
|
45
|
0.70
|
45
|
2900
|
0.980
|
0.455
|
|
|
113
|
XBD8.0/45G-L
|
45
|
0.80
|
55
|
2900
|
1.120
|
0.520
|
|
|
114
|
XBD9.0/45G-L
|
45
|
0.90
|
55
|
2900
|
1.260
|
0.585
|
|
|
115
|
XBD10.0/45G-L
|
45
|
1.00
|
75
|
2900
|
1.400
|
0.650
|
|
|
116
|
XBD11.0/45G-L
|
45
|
1.10
|
75
|
2900
|
1.540
|
0.715
|
|
|
117
|
XBD12.5/45G-L
|
45
|
1.25
|
75
|
2900
|
1.750
|
0.813
|
|
|
118
|
XBD13.5/45G-L
|
45
|
1.35
|
75
|
2900
|
1.890
|
0.878
|
|
|
119
|
XBD14.2/45G-L
|
45
|
1.42
|
90
|
2900
|
1.988
|
0.923
|
|
|
120
|
XBD15.0/45G-L
|
45
|
1.50
|
110
|
2900
|
2.100
|
0.975
|
|
|
121
|
XBD3.0/50G-L
|
50
|
0.30
|
22
|
2900
|
0.420
|
0.195
|
|
|
122
|
XBD4.0/50G-L
|
50
|
0.40
|
30
|
2900
|
0.560
|
0.260
|
|
|
123
|
XBD5.0/50G-L
|
50
|
0.50
|
37
|
2900
|
0.700
|
0.325
|
|
|
124
|
XBD6.0/50G-L
|
50
|
0.60
|
45
|
2900
|
0.840
|
0.390
|
|
|
125
|
XBD7.0/50G-L
|
50
|
0.70
|
55
|
2900
|
0.980
|
0.455
|
|
|
126
|
XBD8.2/50G-L
|
50
|
0.82
|
75
|
2900
|
1.148
|
0.533
|
|
|
127
|
XBD10.0/50G-L
|
50
|
1.00
|
75
|
2900
|
1.400
|
0.650
|
|
|
128
|
XBD11.0/50G-L
|
50
|
1.10
|
90
|
2900
|
1.540
|
0.715
|
|
|
129
|
XBD12.5/50G-L
|
50
|
1.25
|
90
|
2900
|
1.750
|
0.813
|
|
|
130
|
XBD13.5/50G-L
|
50
|
1.35
|
90
|
2900
|
1.890
|
0.878
|
|
|
131
|
XBD14.0/50G-L
|
50
|
1.40
|
110
|
2900
|
1.960
|
0.910
|
|
|
132
|
XBD15.0/50G-L
|
50
|
1.50
|
110
|
2900
|
2.100
|
0.975
|
|
|
133
|
XBD3.8/55G-L
|
55
|
0.38
|
30
|
2900
|
0.532
|
0.247
|
|
|
134
|
XBD4.5/55G-L
|
55
|
0.45
|
37
|
2900
|
0.630
|
0.293
|
|
|
135
|
XBD5.0/55G-L
|
55
|
0.50
|
37
|
2900
|
0.700
|
0.325
|
|
|
136
|
XBD6.0/55G-L
|
55
|
0.60
|
45
|
2900
|
0.840
|
0.390
|
|
|
137
|
XBD7.0/55G-L
|
55
|
0.70
|
55
|
2900
|
0.980
|
0.455
|
|
|
138
|
XBD8.0/55G-L
|
55
|
0.80
|
75
|
2900
|
1.120
|
0.520
|
|
|
139
|
XBD9.0/55G-L
|
55
|
0.90
|
75
|
2900
|
1.260
|
0.585
|
|
|
140
|
XBD11.0/55G-L
|
55
|
1.10
|
90
|
2900
|
1.540
|
0.715
|
|
|
141
|
XBD13.0/55G-L
|
55
|
1.30
|
110
|
2900
|
1.820
|
0.845
|
|
|
142
|
XBD14.0/55G-L
|
55
|
1.40
|
110
|
2900
|
1.960
|
0.910
|
|
|
143
|
XBD15.0/55G-L
|
55
|
1.50
|
132
|
2900
|
2.100
|
0.975
|
|
|
144
|
XBD3.8/60G-L
|
60
|
0.38
|
30
|
2900
|
0.532
|
0.247
|
|
|
145
|
XBD4.5/60G-L
|
60
|
0.45
|
37
|
2900
|
0.630
|
0.293
|
|
|
146
|
XBD5.0/60G-L
|
60
|
0.50
|
37
|
2900
|
0.700
|
0.325
|
|
|
147
|
XBD6.0/60G-L
|
60
|
0.60
|
45
|
2900
|
0.840
|
0.390
|
|
|
148
|
XBD7.0/60G-L
|
60
|
0.70
|
55
|
2900
|
0.980
|
0.455
|
|
|
149
|
XBD8.0/60G-L
|
60
|
0.80
|
75
|
2900
|
1.120
|
0.520
|
|
|
150
|
XBD9.0/60G-L
|
60
|
0.90
|
75
|
2900
|
1.260
|
0.585
|
|
|
151
|
XBD10.0/60G-L
|
60
|
1.00
|
90
|
2900
|
1.400
|
0.650
|
|
|
152
|
XBD11.0/60G-L
|
60
|
1.10
|
90
|
2900
|
1.540
|
0.715
|
|
|
153
|
XBD12.5/60G-L
|
60
|
1.25
|
110
|
2900
|
1.750
|
0.813
|
|
|
154
|
XBD14.0/60G-L
|
60
|
1.40
|
110
|
2900
|
1.960
|
0.910
|
|
|
155
|
XBD15.0/60G-L
|
60
|
1.50
|
132
|
2900
|
2.100
|
0.975
|
|
|
156
|
XBD3.8/70G-L
|
70
|
0.38
|
37
|
2900
|
0.532
|
0.247
|
|
|
157
|
XBD4.4/70G-L
|
70
|
0.44
|
45
|
2900
|
0.616
|
0.286
|
|
|
158
|
XBD6.0/70G-L
|
70
|
0.60
|
55
|
2900
|
0.840
|
0.390
|
|
|
159
|
XBD7.0/70G-L
|
70
|
0.70
|
75
|
2900
|
0.980
|
0.455
|
|
|
160
|
XBD8.0/70G-L
|
70
|
0.80
|
75
|
2900
|
1.120
|
0.520
|
|
|
161
|
XBD10.0/70G-L
|
70
|
1.00
|
90
|
2900
|
1.400
|
0.650
|
|
|
162
|
XBD11.0/70G-L
|
70
|
1.10
|
110
|
2900
|
1.540
|
0.715
|
|
|
163
|
XBD12.0/70G-L
|
70
|
1.20
|
110
|
2900
|
1.680
|
0.780
|
|
|
164
|
XBD13.0/70G-L
|
70
|
1.30
|
132
|
2900
|
1.820
|
0.845
|
|
|
165
|
XBD15.0/70G-L
|
70
|
1.50
|
160
|
2900
|
2.100
|
0.975
|
|
|
166
|
XBD4.0/80G-L
|
80
|
0.40
|
55
|
2900
|
0.560
|
0.260
|
|
|
167
|
XBD5.0/80G-L
|
80
|
0.50
|
75
|
2900
|
0.700
|
0.325
|
|
|
168
|
XBD6.0/80G-L
|
80
|
0.60
|
90
|
2900
|
0.840
|
0.390
|
|
|
169
|
XBD7.0/80G-L
|
80
|
0.70
|
90
|
2900
|
0.980
|
0.455
|
|
|
170
|
XBD8.0/80G-L
|
80
|
0.80
|
110
|
2900
|
1.120
|
0.520
|
|
|
171
|
XBD9.0/80G-L
|
80
|
0.90
|
110
|
2900
|
1.260
|
0.585
|
|
|
172
|
XBD11.0/80G-L
|
80
|
1.10
|
132
|
2900
|
1.540
|
0.715
|
|
|
173
|
XBD13.0/80G-L
|
80
|
1.30
|
160
|
2900
|
1.820
|
0.845
|
|
|
174
|
XBD14.0/80G-L
|
80
|
1.40
|
200
|
2900
|
1.960
|
0.910
|
|
|
175
|
XBD4.0/90G-L
|
90
|
0.40
|
55
|
2900
|
0.560
|
0.260
|
|
|
176
|
XBD5.0/90G-L
|
90
|
0.50
|
75
|
2900
|
0.700
|
0.325
|
|
|
177
|
XBD7.0/90G-L
|
90
|
0.70
|
90
|
2900
|
0.980
|
0.455
|
|
|
178
|
XBD9.0/90G-L
|
90
|
0.90
|
110
|
2900
|
1.260
|
0.585
|
|
|
179
|
XBD11.0/90G-L
|
90
|
1.10
|
132
|
2900
|
1.540
|
0.715
|
|
|
180
|
XBD12.0/90G-L
|
90
|
1.20
|
200
|
2900
|
1.680
|
0.780
|
|
|
181
|
XBD13.0/90G-L
|
90
|
1.30
|
200
|
2900
|
1.820
|
0.845
|
|
|
182
|
XBD3.0/100G-L
|
100
|
0.30
|
55
|
2900
|
0.420
|
0.195
|
|
|
183
|
XBD4.0/100G-L
|
100
|
0.40
|
75
|
2900
|
0.560
|
0.260
|
|
|
184
|
XBD5.0/100G-L
|
100
|
0.50
|
90
|
2900
|
0.700
|
0.325
|
|
|
185
|
XBD6.0/100G-L
|
100
|
0.60
|
110
|
2900
|
0.840
|
0.390
|
|
|
186
|
XBD7.0/100G-L
|
100
|
0.70
|
132
|
2900
|
0.980
|
0.455
|
|
|
187
|
XBD8.0/100G-L
|
100
|
0.80
|
160
|
2900
|
1.120
|
0.520
|
|
|
188
|
XBD10.0/100G-L
|
100
|
1.00
|
200
|
2900
|
1.400
|
0.650
|
|
|
189
|
XBD3.0/110G-L
|
110
|
0.30
|
55
|
2900
|
0.420
|
0.195
|
|
|
190
|
XBD4.0/110G-L
|
110
|
0.40
|
75
|
2900
|
0.560
|
0.260
|
|
|
191
|
XBD5.0/110G-L
|
110
|
0.50
|
90
|
2900
|
0.700
|
0.325
|
|
|
192
|
XBD6.0/110G-L
|
110
|
0.60
|
110
|
2900
|
0.840
|
0.390
|
|
|
193
|
XBD7.0/110G-L
|
110
|
0.70
|
132
|
2900
|
0.980
|
0.455
|
|
|
194
|
XBD8.0/110G-L
|
110
|
0.80
|
160
|
2900
|
1.120
|
0.520
|
|
|
195
|
XBD10.0/110G-L
|
110
|
1.00
|
200
|
2900
|
1.400
|
0.650
|
|
|
196
|
XBD4.0/120G-L
|
120
|
0.40
|
90
|
2900
|
0.560
|
0.260
|
|
|
197
|
XBD4.5/120G-L
|
120
|
0.45
|
110
|
2900
|
0.630
|
0.293
|
|
|
198
|
XBD5.0/120G-L
|
120
|
0.50
|
132
|
2900
|
0.700
|
0.325
|
|
|
199
|
XBD6.0/120G-L
|
120
|
0.60
|
160
|
2900
|
0.840
|
0.390
|
|
|
200
|
XBD6.3/120G-L
|
120
|
0.63
|
200
|
2900
|
0.882
|
0.410
|
|
|